Samsung sẽ đánh bại Apple với bước đột phá sáng tạo này

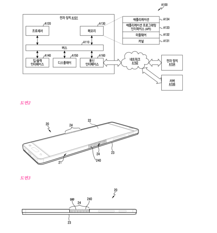
Đây là công nghệ sẽ được trang bị trên các smartphone của Samsung trong năm tới. Được biết màn hình uốn dẻo này có tích hợp OLED và uốn cong thậm chí gập đôi mà không hề gây hỏng vỡ. Ngoài ra rất có thể trong triển lãm Mobile World Congress tổ chức tại thành phố Barcelona (Tây Ban Nha) vào tháng 2/2017, Samsung sẽ giới thiệu ít nhất một mẫu smartphone màn hình dẻo.


Được biết màn hình này có thể được sản xuất bằng một chất liệu dẻo nào đó, chất liệu này có khả năng chịu nhiệt và độ bền cao, có thể chịu được lực tác động mạnh mà không gây hiện tượng vỡ khi va chạm. Theo PhoneArena, có khả năng tấm nền này được sản xuất gồm polyethylene naphthalate (PEN), polycarbonate (PC), polyarylate (PAR), polyether imide (PEI), polyether sulfone (PES), và polyimide (PI).



Công nghệ này sẽ giúp thu gọn chiếc smartphone của bạn lại, điều này sẽ giúp cho kích thước màn hình được to hơn. Khi bạn không sử dụng đến có thể gấp gọn lại như chiếc điện thoại vỏ sò, khi đó sẽ xuất hiện màn hình phụ thứ hai để hiển thị các thông tin cơ bản về tin nhắn, email,… ngoài ra có thể chấp nhận cuộc gọi từ màn hình này.

. Trở trang chủ tại ĐÂY
· Xem các tin tức mới nhất tại ĐÂY








